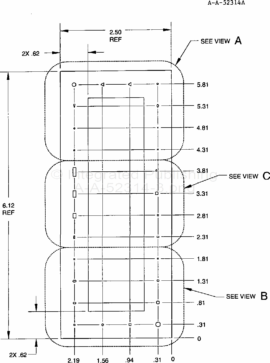
A-A-52314 Template, Drafting: Map Symbol, For Plastic ScribingThis commercial item description covers a transparent, plastic, drafting template.